原标题:上海摸排整治三类虚拟货币活动,高调“回归中国”的币安怎么办?



11月15日,有消息称,在上海互金整治办的牵头下,上海市金融稳定联席办和中国人民银行上海总部联合印发《关于开展虚拟货币交易场所排摸整治的通知》(下称《通知》),开展对辖内虚拟货币交易所排摸整治。
《通知》显示,近期,借区块链技术的推广宣传,虚拟货币炒作有抬头迹象,为防范死灰复燃,根据国家互金整治办相关部署,要求整治办对辖内三种虚拟货币相关活动进行摸排,并在11月22日前完成摸排工作。

被列入整治范围的活动包括:在境内组织虚拟货币交易;以“区块链应用场景落地”等为由,发行“xx币”、“xx链”等形式的虚拟货币,募集资金或比特币、以太坊等虚拟货币;为注册在境外的ICO项目、虚拟货币交易平台等提供宣传、引流、代理买卖等服务。
《通知》要求,一旦发现从事上述虚拟货币相关活动的互联网企业,上海各区整治办要立即报送上海市金融稳定联席办(上海市地方金融监管局)和央行上海总部,并督促企业立即整改退出。
值得注意的是,号称“世界第一交易大所”的币安就在今年9月大张旗鼓地要“回归中国市场”。
《国际金融报》记者通过天眼查发现,上海比捷文化有限公司的法定代表人为“zhao chang peng”(和币安CEO赵长鹏发音一致),该公司监事为王黎来。王黎来也是已经注销的上海币安网络科技有限公司和上海比捷网络科技有限公司的监事。
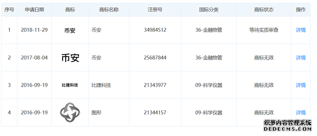
其中,上海比捷网络科技有限公司于去年11月29日申请了一个“币安”字样的商标,目前正在等待实质审查。2017年8月4日,其也曾申请过一个“币安”字样的商标,不过目前显示商标无效。
根据天眼查信息,王黎来,币安CTO,创始团队成员,有着10+年金融行业经验,主要负责建立和培养技术团队,设计整个交易系统和清算系统的顶层架构,管理运维团队,保证交易所安全、稳定的运行。
在场外OTC业务方面,9月17日,币安CMO何一通过视频在“三体币安”的媒体见面会上披露,币安OTC业务将于10月份正式上线,并启动C2C业务的充值通道。此前,币安在国内一直没有法币通道,而这一举动“解决了国内用户资金出入的难题”。
10月9日,币安正式官宣开通OTC交易功能。一名币安用户发推特询问,币安是否正在接受支付宝和微信支付,并附上其安卓App截图,其中有“银行卡”“微信”“支付宝”选项,币安CEO赵长鹏(CZ)在Twitter上进行了确认。
不久,有意思的一幕发生,为了强调立场,支付宝“远征”Twitter,在赵长鹏对网友确认可以用支付宝进行比特币交易时回复他:不,你不可以。
币安被瞬间“打脸”。10月10日晚间,继支付宝之后,微信也表态称,禁止将其支付工具用于虚拟币交易。
除了在业务层面大力布局中国市场,9月,币安还战略投资了国内区块链媒体火星财经。对此,有业内解读称,币安希望借此打开国内市场的舆论发声渠道。
(国际金融报记者 黄希)
文章转载自新浪新闻
文章转载自新浪新闻
新闻排行榜
返回顶部 